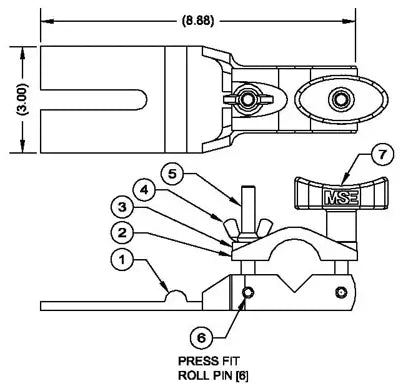
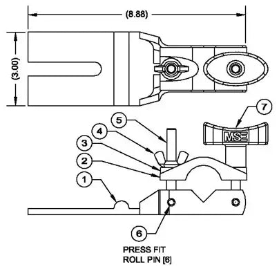
Exploded View - 429616 TUBE HANGER
| Detail # | Quantity | Part # | Description |
| 7 | 1 | 349575-4 | T-Handle #C |
| 6 | 2 | 28-0045 | Rollpin .31″ Dia |
| 5 | 2 | 25-0413 | Eye Bolt 3/8-16 |
| 4 | 1 | 1078/100 | Wing Nut 3/8-16 |
| 3 | 2 | 18065-20 | Spacer .88″ |
| 2 | 1 | 429616-2 | Top Plate |
| 1 | 1 | 429616-1 | Bottom Plate |
