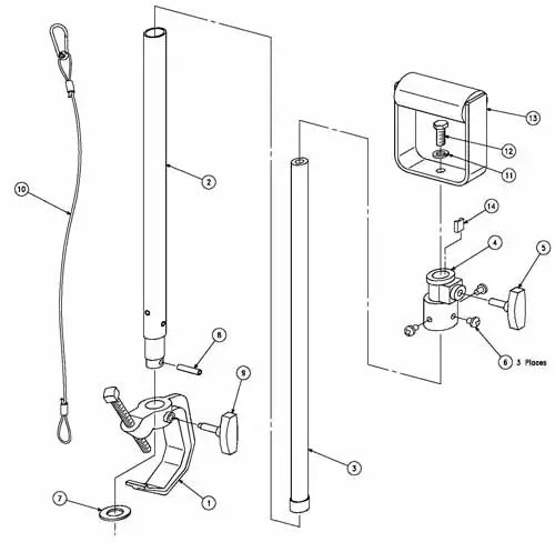
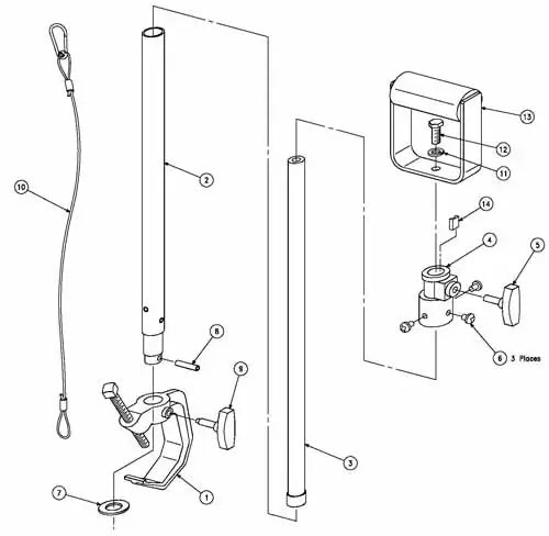
Exploded View - B429754 5-10FT. LIGHTWEIGHT TELESCOPING HANGER WITH PIPE CLAMP AND STIRRUP HANGER
| Detail # | Quantity | Part # | Description |
| 14 | 1 | 62100-01 | Brake #3, Small |
| 13 | 1 | 429612-1 | Stirrup |
| 12 | 1 | 25087/100 | CS 3/8-16 |
| 11 | 1 | 1056/100 | LWash |
| 10 | 1 | 6348-3/100 | Lanyard |
| 9 | 1 | 63302 | T-Handle |
| 8 | 1 | 1170/100 | RPin |
| 7 | 1 | 121/100 | Washer |
| 6 | 3 | 25-0260 | Panhead Screw |
| 5 | 1 | B63301 | T-Handle |
| 4 | 1 | B4001 | Bonnet Housing |
| 3 | 1 | B429724-11 | Lower Wmt |
| 2 | 1 | B429724-12 | Upper Assembly |
| 1 | 1 | 429628 | Baby Pipe Clamp |
